
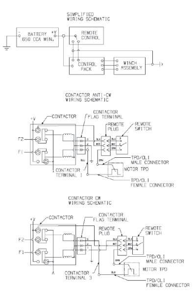
Motore: elettrico 24V con ROTAZIONE ORARIA
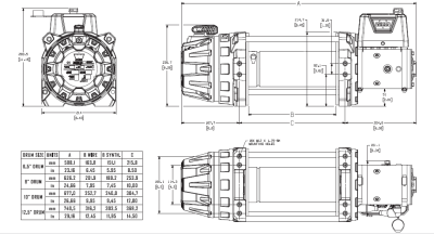
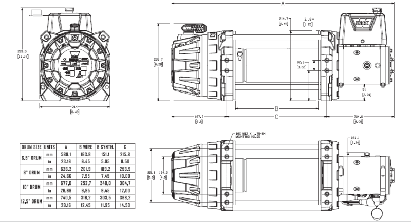
Diametro flangia del tamburo: 209.3mm
Larghezza del tamburo: 252.7mm
Capacità di tiro: 9000lb/4082Kg
Freno: automatico SAE J706 Sec. 4.2
Diametro cavo raccomandato: 9.5mm
Diametro massimo del cavo: 12.7mm
Strati massimi sul tamburo: 4 con diametro 9.5 mm
Capacità minima di rottura del cavo: 6849 Kg
Ratio: 212:1
Temperatura di lavoro: -40° fino a 70° C
Grado di protezione: IP68
Peso: 44Kg
Batteria minima raccomandata: 650CCA
I verricelli industriali WARN Serie G2 sono ideali per applicazioni industriali grazie alle migliorate prestazioni e una migliore durata che consentono di lavorare in modo più facile. I verricelli della Serie G2 possono anche essere utilizzati per applicazioni specifiche in base alle esigenze.
Si può scegliere diversi tipi per lunghezze di tamburo, rulliera, bocca guida-cavo, etc. Sono disponibili i modelli idraulici, elettrici o per impieghi gravosi e hanno capacità che variano da 9.000 libbre (4.082 Kg) a 18.000 libbre (8.165 Kg) con le seguenti caratteristiche:
I modelli idraulici sono disponibili in diverse varianti: con rotazione del tamburo in senso orario e antiorario e con opzione di frizione manuale e ad aria (pneumatica). Sono ideali nel settore del traino e del recupero che richiedono un utilizzo giornaliero intensivo. Presentano un design robusto e pratico per la manutenzione con un blocco ingranaggi resistente per una prestazione migliore.
I modelli elettrici sono disponibili in diverse varianti: con rotazione del tamburo in senso orario e antiorario e con frizione manuale sia a 12V che a 24V. Sono ideali per interventi di primo soccorso, per veicoli commerciali e molte applicazioni in cui è necessario un verricello elettrico a 12V o 24V. Le prestazioni migliorate aiutano a portare a termine i lavori in modo rapido e affidabile. Inoltre offrono un riavvolgimento rapido durante il traino, affidabile e silenzioso con una riduzione fino al 65% di vibrazioni e di rumore.
La serie Severe Duty include due varianti con capacità diversa (12.000 e 18.000 libbre), con un'unica possibile rotazione di tamburo in senso antiorario e frizione manuale, con diverse lunghezze del tamburo e del cavo. Sono ideali per le situazioni più impegnative come applicazioni militari; sono dotati di rivestimento CARC resistente ad agenti chimici.
PRESTAZIONI PER STRATO:
| STRATO DI CAVO | CAPACITA' DI TIRO (Kg) | VELOCITÀ' DI TIRO (m/min) |
| 1 | 4082 | 9.0 |
| 2 | 3485 | 9.8 |
| 3 | 3040 | 10.5 |
| 4 | 2696 | 11.3 |
PRESTAZIONI SUL PRIMO STRATO:
| CAPACITA' DI TIRO (Kg) | AMP. | VELOCITÀ' DI TIRO (m/min) | CICLO DI LAVORO (min/10min) |
| 0 | 48.0 | 9.0 | 4:15 |
| 680 | 83.2 | 5.6 | 2:45 |
| 1361 | 113.6 | 4.3 | 1:40 |
| 2041 | 142.6 | 3.8 | 1:10 |
| 2722 | 171.5 | 3.4 | 0:40 |
| 3402 | 198.9 | 2.8 | 0:30 |
| 4082 | 221.4 | 2.7 | 0:20 |